Detektory úniku plynu

 

Osobní detektor topných plynů KD-02   │   Detektor topných plynů pro kotelny DSD-01

 

Osobní detektor topných plynů KD-02

osobni_detektor_topnych_plynu_thumb detektor pro měření úniku na armaturách měří zemní plyn,PB, a CO
možnost funkce jako monitor - úsporný provoz
napájení na aku, včetně nabíječky

Detektor KD2 (pro kotelny)

Charakteristika detektoru KD2:

  • Dvoučidlový, mikropočítačem řízený indikátor oxidu uhelnatého a hořlavých plynů pro kotelny, průmyslové provozy i domácnosti s plynovým vytápěním.
  • Vhodný pro trvalou i pravidelnou kontrolu vnitřního prostoru, lze ho použít i k vyhledávání úniku, možnost napojení na další zařízení.
  • Inteligentní přístroj který lze s výhodou použít v kotelnách místo detekčních trubiček.
  • Příslušenstvím je síťový adaptér k dobíjení akumulátoru i pro trvalou detekci.

Přednosti:

  • jednoduchá obsluha, malé rozměry, dostatečný rozsah detekce pro běžnou praxi
  • osmibodová světelná stupnice, akustická signalizace proměnná s koncentrací plynu
  • provoz na akumulátor i na elektrickou síť, samočinné dobíjení akumulátoru
  • paměť nejvyšší detekované koncentrace
  • uzpůsobený pro zavěšení na zeď, přenosné "kapesní" provedení
  • možnost doplnit elektrický výstup, nebo dobíjet detektor v automobilu
  • výrobek má certifikát zkušebny, záruku 2 roky, životnost min. 7 let
  • v praxi prověřen velkou řadou výtopen, desítkami techniků (cukrovary, teplárny, atd. Z největších odběratelů např.: Elektrárny Opatovice a.s.)

detkd2

 

Detektor KD2 s hlavicí (pro techniky)

Odlišnosti detektoru KD2 s hlavicí:

  • hlavice o průměru 10mm na kroucené šňůře délky 1,2m umožní pohodlné hledání netěsností v hůře přístupných částech zařízení
  • provoz na akumulátor, při detekci hořlavých plynů, má o 50% delší trvání
  • je vhodný pro plynárenské, revizní a servisní techniky
  • lze ho doplnit praktickým pouzdrem, KD2 s hlavicí není konstruován pro zavěšení na zeď

detkd2h

 

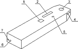
Rozmístění prvků detektoru:

det_n 1.Ovládací tlačítko
2.Světelná stupnice
3.Čidlo hořlavých plynů (případně nahrazeno hlavicí)
4.Otvory pro vstup CO
5.Zvuková signalizace
6.Zdířka pro síťový adaptér
7.Signalizace dobíjení
(DK2 má na zadní straně otvor pro upevnění na zeď)

 

 Technické údaje detektoru:

Rozsah indikace CH4: 0,03 až 4 % objemu
CO: 0,002 až 0,04 % objemu
Pracovní teplota 0°C až +40°C
Napájení vnitřní akumulátor 9V /síťový adaptér 12V,300mA
Doba provozu KD2 1 až 20 hodin na akumulátor (dle druhu provozu)
Doba provozu KD2h 1,5 až 20 hodin na akumulátor (dle druhu provozu)
Rozměry/hmotnost 150 x 50 x 23mm / 120g
Schválení KD2 je schválen do prostor "bez nebezpečí výbuchu" (certifikát VVUÚ Ostrava-Radvanice)
Vybavení síťový adaptér na 230V, akumulátor 9V/160mAh NIMH (uvnitř přístroje)

  

 

Detektor topných plynů pro kotelny DSD-01

stabilni_detektor_topnych_plynu_thumb zemní plyn nebo propan-butan, optická i akustická signalizace
dva stupně spínání, impulsně nebo trvale 12V nebo 230V výstup
vybaven sirénou pro I. stupeň

Stabilní detektor DSD-01 slouží k trvalému měření koncentrace topných plynů. Je vhodný zejména pro použití v plynových kotelnách, protože splňuje požadavky normy ČSN 07 0703 pro provoz plynových kotelen, která jej předepisuje jako povinné vybavení. Detektor lze použít v prostorách bez nebezpečí výbuchu. Funkce detektoru je v souladu s normou ČSN EN 500 54 pro dvoustupňové signalizátory úniku plynu. Konstrukce detektoru odpovídá krytí IP 40 pro normální prostředí a požadavkům normy ČSN EN 610 10-1/95 + A2/97.

  • dvoustupňová signalizace při koncentraci 10% DMV a 20% DMV beznapěťovými přepínacími kontakty zatížitelnými 250Vst / 8A
  • volitelná funkce spínání výstupních relé TRVALE nebo PULSNĚ
  • akustická signalizace piezo 102 dB
  • rozlišená optická signalizace I. a II. stupně
  • jednoduchá montáž na stěnu
  • připojení napájecími a ovládacími kabely vedenými vývodkami PG9 na WAGO svorky
  • certifikáty ze skušeben EZÚ Praha-Troja a VVUÚ Ostrava-Radvanice
  • dodává se společně se čtyřmi vruty a hmoždinkami pro montáž na stěnu
Indikovaný plyn zemní plyn nebo popan-butan
Napájení síťové
Signalizační meze 10% DMV ± 4% a 20% DMV ± 4%
Pracovní teplota +5° C až +40° C
Teplotní závislost - 0,2% DMV / 1° C
Indikace optická (LED diody) akustická (piezoměnič 102 dB)
Rozměry 187 x 135 x 75 mm
Hmotnost 650g
Životnost čidla 7 let

Kontakt

SEKO-SKUTEČ CZ s r.o.

zapsaná v ob.rejs.u KS v HK spis znač. C 41700

IČO: 07135840
DIČ: CZ07135840

Zvěřinova 39
539 73 Skuteč

Tel.: 469 350 206

mobil: 776 322 292
mobil: 777 249 864

seko.skutec@seznam.cz

TENTO WEB POUŽÍVÁ COOKIES
Pokud kliknete na „Přijmout vše“, poskytnete tím souhlas k jejich ukládání na vašem zařízení, což pomáhá s navigací na stránce, s analýzou využití dat a s našimi marketingovými snahami.
Více informací
  1. Jsou nezbytné k tomu, aby web fungoval, takže není možné je vypnout. Většinou jsou nastavené jako odezva na akce, které jste provedli, jako je požadavek služeb týkajících se bezpečnostních nastavení, přihlašování, vyplňování formulářů atp. Prohlížeč můžete nastavit tak, aby blokoval soubory cookie nebo o nich posílal upozornění. Mějte na paměti, že některé stránky bez těchto souborů nebudou fungovat. Tyto soubory cookie neukládají žádné osobní identifikovatelné informace.
  2. Pomáhají sledovat počet návštěvníků a také z jakého zdroje provoz pochází, což nám umožňuje zlepšovat výkon stránky. Můžeme s nimi určovat, které stránky jsou nejoblíbenější a které nejsou oblíbené, a také sledovat, jakým způsobem se návštěvníci na webu pohybují. Všechny informace, které soubory cookie shromažďují, jsou souhrnné a anonymní. Pokud soubory cookie nepovolíte, nebudeme vědět, kdy jste navštívili naši stránku.
  3. Tyto soubory cookie mohou na naší stránce nastavovat partneři z reklamy. Mohou je používat na vytváření profilů o vašich zájmech a podle nich vám zobrazovat reklamy i na jiných stránkách. Neukládají ale vaše osobní informace přímo, nýbrž přes jedinečné identifikátory prohlížeče a internetového zařízení. Pokud je nepovolíte, bude se vám zobrazovat na stránkách méně cílená propagace.

Svůj souhlas můžete kdykoliv změnit nebo odvolat kliknutím na odkaz Cookies v zápatí webu.